Клиновой промерник АНДОР
Оставить отзыв| Отклонение от плоскостности рабочих граней, мм, не более | 0,2 |
| Угол между рабочими гранями | 5°45´±5 |
| Погрешность клина, мм, не более | ±0,2 |
| Цена деления шкалы, мм | 0,5 |
| Диапазон измерений, мм | 0,5 – 15 |
Описание
Характеристики
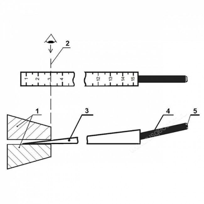
| Отклонение от плоскостности рабочих граней, мм, не более | 0,2 |
| Угол между рабочими гранями | 5°45´±5 |
| Погрешность клина, мм, не более | ±0,2 |
| Цена деления шкалы, мм | 0,5 |
| Диапазон измерений, мм | 0,5 – 15 |
| Масса, кг, не более | 0,3 |
| Габаритные размеры, мм | 225x15x40 |
Клиновой промерник АНДОР отзывы
Об этом товаре отзывов пока нет. Будьте первым!
Рекомендуем посмотреть



















